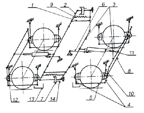
Brzda podvozku Tatra 1-740

Kompletní sestava mechanické části brzdy, včetně brzdových válců je umístěna na rámu podvozku, dvojkolí jsou obrzděna oboustranně jednošpalíkovými brzdovými zdržemi. brzda

  1. Spojnice převodnic

  2. Převodnice

  3. Malá rozpora

  4. Svislá páka

  5. Táhlo

  6. Regulační tyč

  7. Šestipalcový brzdový válec

  8. Rozpora zdrží

  9. Vratná pružina

  10. Závěska zdrže

  11. Stavěč odlehlosti zdrží

  12. Brzdová zdrž jednošpalíková

  13. Záchytka rozpory

  14. Pryžová spojka

vagony.cz / pojezdy / podvozkové / podvozky Tatra / typ 1-740 / brzda

Valid HTML 4.0 Transitional